HOME > 仿形磨伦(光学式仿研磨砂轮)
仿形磨伦(光学式仿研磨砂轮)
仿形磨伦(光学式仿研磨砂轮)
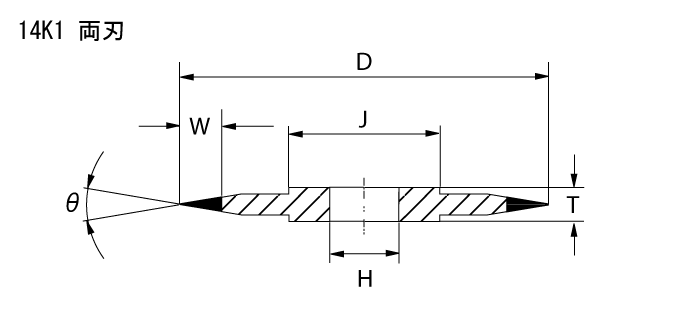
角度及尖端的强度
5°以上的可加工。关于尖端强度,大角度(钝角)的较理想,对垂直于中心轴方向的负载强, 对平行方向上的负载弱。砂轮材料为钢。(5°,6°,7°,8°,9°,10°,12°,15°,20°,30°....)。
| 粒 度 | 140 | 170 | 200 | 230 | 270 | 325 | 360 | 400 | 600 | 800 |
| 尖端幅 | 0.2 | 0.18 | 0.16 | 0.15 | 0.14 | 0.12 | 0.11 | 0.10 | 0.08 | 0.08 |
| 尖端R | 0.09 ~0.10 |
0.08 ~0.09 |
0.07 ~0.08 |
0.07 ~0.08 |
0.06 ~0.07 |
0.05 ~0.06 |
0.05 ~0.06 |
0.04 ~0.05 |
0.03 ~0.04 |
0.025 ~0.35 |
加工面
根据研磨条件的不同,加工面有很大差异。例如:缩小横向行车则可得到数段理想的加工面。
(例,#200MVD=0.5 S/1mm/min,自动行车)。在标有粒度表示内的砂轮有多种,
请根据研磨效率、精度及外观来选择。
| 粒 度 | 140 | 170 | 200 | 230 | 270 | 325 | 360 | 400 | 600 | 800 | 1000 | 1500 | |
| 表面 粗度S |
金属粘合剂 | 4 | 3.3 | 2.8 | 2.3 | 2 | 1.7 | 1.4 | 1 | 0.8 | 0.6 | 0.4 | 0.2 |
| 树脂粘合剂 | 3.3 | 2.8 | 2.4 | 2 | 1.6 | 1.4 | 1.2 | 0.8 | 0.6 | 0.4 | 0.3 | 0.2 | |
| 研磨程度 | 粗槽 | 粗槽 | 中等 | 中等 | 中等 | 精密 | 精密 | 精密 | 超精密 | 超精密 | 超精密 | 超精密 | |
| 为工件材=V种,周速=1500m/min,冲程=38回/分 横向行走2.4mm/min 自动行车。有关其它类型,可遵嘱制造。 | |||||||||||||




